Sarah Boone
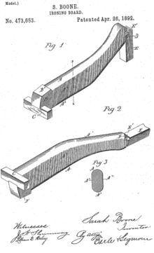
Sarah Boone (1832–1904) was an American inventor who on April 26, 1892, obtained United States patent number 473,563[1] for her improvements to the ironing board. Boone's ironing board was designed to improve the quality of ironing sleeves and the bodies of women's garments. The board was very narrow, curved, and made of wood. The shape and structure allowed it to fit a sleeve and it was reversible, so one could iron both sides of the sleeve.[2][3] Along with Miriam Benjamin, Ellen Eglin, and Sarah Goode, Boone was one of four African American women inventors of her time who developed new technology for the home.[4]
| Sarah Boone | |
|---|---|
| Born | Sarah Marshall 1832 Craven County, North Carolina, US |
| Died | 1904 (aged 71–72) New Haven, Connecticut, US |
| Other names | Boon |
| Occupation |
|
| Known for | Inventor of an ironing board improvement |
Biography

Sarah Marshall was born in Craven County, North Carolina, near the town of New Bern, on January 1, 1832.[5] She was formerly enslaved which was brutal.[6] On November 25, 1847, she married James Boone (or Boon) in New Bern;[5][7] they had eight children.[8]
The Boone family left North Carolina for New Haven, Connecticut,[9] before the outbreak of the American Civil War;[5] they settled into a house at 30 Winter Street.[10] Sarah Boone worked as a dressmaker.[5][11] She belonged to the Dixwell Avenue Congregational Church.[1]
Sarah Marshall Boone died in 1904 and is buried in a family plot in Evergreen Cemetery in New Haven.[5]
References
- Ramirez, Ainissa (July 26, 2020). "Two inventors who should have statues". The Hartford Courant. Retrieved 6 August 2020.
- Patent US473653 - IRONING-BOARD - Google Patents
- Sullivan, Otha Richard (2002). African American Women Scientists and Inventors. John Wiley & Sons, Inc. pp. 12. ISBN 9780471387077.
- McNeill, Leila (7 February 2017). "These Four Black Women Inventors Reimagined the Technology of the Home". Smithsonian. Retrieved 6 February 2018.
- Bellis, Mary. "Hate Creases? Sarah Boone's Invention Could Help". ThoughtCo. Retrieved 2018-02-05.
- "Simply Ingenious: The Ironing Board". Tampa Bay Times. 1998-02-14. p. 37. Retrieved 2018-02-06 – via Newspapers.com.
- "Craven County North Carolina Marriages 1740-1868". FamilySearch. Raleigh, North Carolina: State Archive of North Carolina. 25 November 1847. p. 30. Film #004364799, image 35. Retrieved 7 February 2018.
- "1900 U. S. Census City of New Haven, Connecticut". FamilySearch. Washington, D.C.: National Archives and Records Administration. 11 June 1900. p. 13-A. NARA record series T623 roll 146. Retrieved 7 February 2018.
- Perry, Paul Wardell (1 January 2000). "Little Things That Made a Big Difference". The New Crisis – via Questia Online Library.
- "1880 U. S. Federal Census for New Haven County (Connecticut) Enumeration District 91, Sheet 46, Lines 46-50 and Sheet 47, Line 1". FamilySearch. Washington, D.C.: National Archives and Records Administration. 8 June 1880. pp. 46B–47A. NARA record series T9, Roll 106. Retrieved 7 February 2018.
- "1870 U. S. Federal Census for the First Ward of the City of New Haven, New Haven County, Connecticut, Line 34". FamilySearch. Washington, D.C.: National Archives and Records Administration. 9 July 1870. p. 175. NARA record series M593, Roll 109. Retrieved 7 February 2018.